|
概述:SC200/200型施工升降机是一种靠齿轮齿条传动的电梯,主要用于高层建筑施工的人、货运输。这种电梯可以
非常方便的自行安装和拆卸。并可随着建筑物的增高而增高。有单笼和双笼的施工升降机:单笼的升降机若增加一个吊
笼和其它零件后即可成为双笼升降机。如果配备对重装置,它的载重量能大幅度提高。SC型施工升降机有非常可靠的电
气和机械安全系统,是建筑施工中安全、高效的垂直运输设备。
普通施工升降机
性能特点;性能稳定、安全可靠、搬运灵活、适用性强。采用国际先进技术,主要技术指标均达到国内同类产品的
先进水平。
主要技术参数
|
序号
|
参数名称
|
单位
|
数值
|
备注
|
|
1
|
额定载重量
|
kg
|
2000/2000
|
|
|
2
|
额定提升速度
|
m/min
|
33
|
|
|
3
|
最大提升高度
|
m
|
150
|
|
|
4
|
电机功率
|
kw
|
11×3
|
|
|
5
|
自由端高度
|
m
|
7.5
|
|
|
6
|
对重质量
|
kg
|
/
|
无对重
|
|
7
|
吊笼净空尺寸
|
mm
|
3200×1500×2400
|
|
|
8
|
标准节尺寸
|
mm
|
650×650×1508
|
|
变频无级调速施工升降机

性能特点;提升速度快;
启、制动平稳、无冲击;
启动电流小于额定电流;
机械磨损降低,由于启动时无冲击,大大降低了齿轮、齿条等机械磨损;
能源节约效果明显。
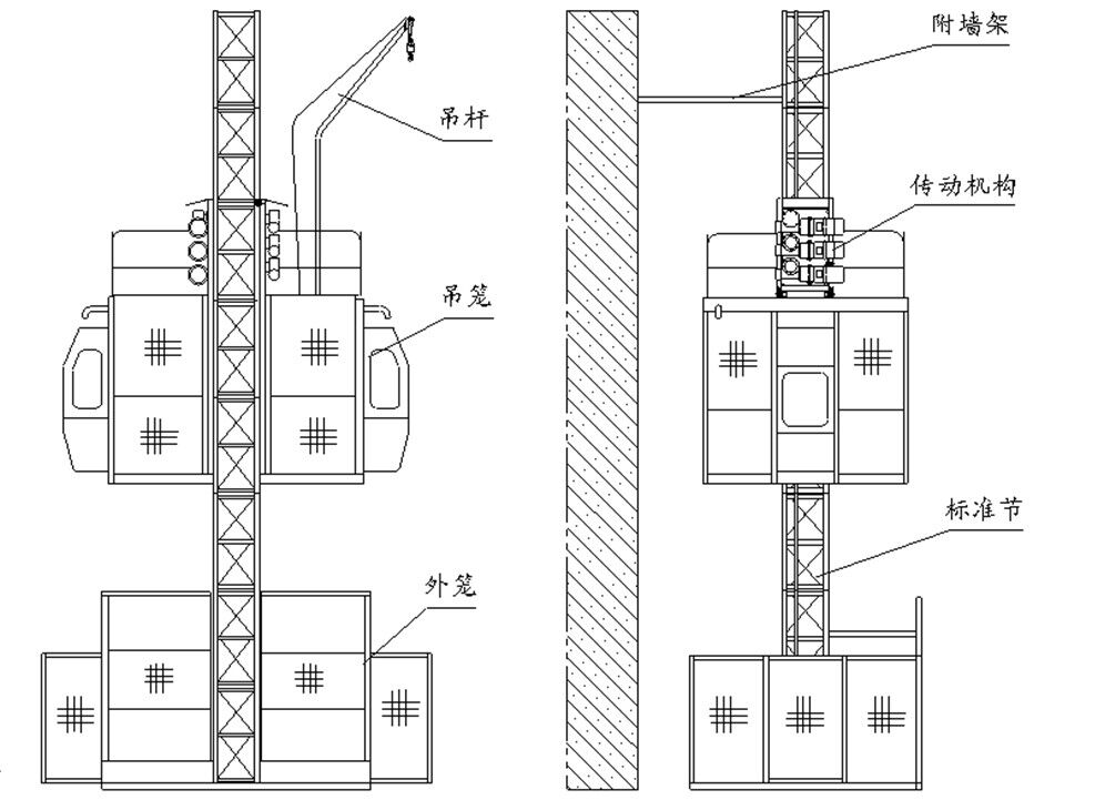
结构示意图
外笼由固定标准节的底盘和防护围栏组成。外笼门由机械和电气锁定,除非吊笼落下来,否则外笼门将不能打开。如外
笼门未关,吊笼将不能启动。
吊笼为一钢结构件,四周有坚固的钢丝网,并设有进、出口门(即单、双笼开吊笼门),由安装在吊笼上的滚轮沿导轨架
运行。吊笼上设有安全钩(亦可设置电气控制)以防止吊笼从导轨架顶部脱离。在安装时,吊笼顶部可作为工作台。由安
全栏杆围住。顶上有一活板门,通过配备的专用梯子,可方便的攀登到顶上进行安装和维修。

标准节每节长1508mm。多节标准节用螺栓相连接组成导轨架,通过附墙架与建筑物固定,作为吊笼上下运行的导轨。
采用专用工装并用二氧化碳保护焊焊接的标准节,可任意互换,垂直度好,保证了吊笼的平稳运行。

附墙架有多种型号,根据需要而选择其中任一型。附墙架可在一定范围内调节某些尺寸。沿导轨架高度,一般每隔
3~10.5m安装一个附墙架。

传动机构由电动机、电磁制动器、弹性联轴器、蜗轮蜗杆减速器及传动齿轮等组成。传动机构在吊笼上通过齿轮与
齿条啮合,使吊笼运行。外置式三传动机构,降低笼内机械振动噪音,笼内空间的增大,给乘坐人员带来一个宽敞舒
适的环境。

防坠安全器安装在吊笼内,由外毂、制动锥鼓、离心块、弹簧等组成。当吊笼超速运行时,防坠安全器里的离心块克
服弹性拉力带动制动锥鼓旋转,与其相连的螺杆同时旋进,制动锥鼓与外毂接触逐渐增加摩擦力,确保吊笼平缓制动。
|