图文解析板式给料机驱动扭力支撑结构制作方法
背景技术:
重型板式给料机由驱动机构、机架部、链板装置、支重轮、拖链轮和拉紧装置等零部件组成。
驱动机构由电机、减速机、锁紧盘和扭力装置组成,驱动机构通过锁紧盘带动链轮轴旋转,从而对物料进行输送。为了抵抗驱动机构随链轮轴旋转的力,扭力装置需要固定在地基上或者机架上。

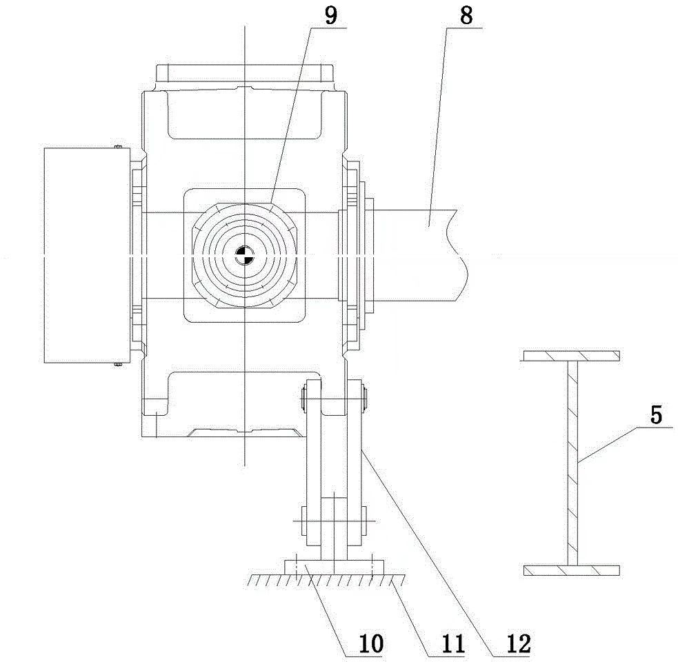
现有的重型板式给料机驱动机构结构如图2所示,包括驱动机构9,驱动机构9下端设置扭力臂12,扭力臂12下端设置有连接座10,连接座10与地基11相连;其驱动机构9与重板主体5之间不相连。由于重型板式给料机工况恶劣、振动较大,驱动机构9单独与地基11相连,造成驱动机构9的震动与主机的震动不同步,因此,这种不同步的震动对链轮轴8伤害较大,严重时可导致链轮轴8断裂。
针对上述问题,我公司提供一种使用寿命长,安装方便的重型板式给料机驱动扭力支撑结构。其主要特点是驱动机构通过连接组件与所述重板主体相连。
连接组件包括与驱动机构下端相连的第一销轴;第一销轴与一连接架相连,连接架通过第二销轴与扭力架相连;扭力架端部与所述重板主体连接一体;第一销轴和第二销轴相互垂直。
技术效果:
1、通过将驱动机构和板式给料机主体连接一体,在使用过程中,驱动机构与主机振动同步,杜绝了链轮轴因振动不同而产生断裂的现象。通过结构改进,安装时无需设立地基基础,降低安装难度,提高安装效率。
2、本实用新型连接组件可以实现两个方向的转动,便于在本实用新型安装过程中进行微调,安装更加方便。
该驱动形式优点表现在如下几点:
1)该驱动形式不用链条传动,也不用联轴器传动,而是减速机悬挂驱动,传动装置由电动机、联轴器、行星直交减速器、锁紧盘等件组成。
2)该装置为直交轴支点浮动式,主轴套装在行星直交减速器的空心输出轴内,通过锁紧盘将两者联结起来,其特点是悬挂式,重量轻,速比大,拆装及维修方便。
3)采用变频调速电动机通过弹性柱销联轴器与轴装式减速机直联,主传动轴直接串在减速机的空心输出轴内,通过锁紧盘(涨套)联接。由于减速机采用悬挂轴装式结构,传动装置整体为悬挂式,安装就位时可将减速机支架与主机机架简易连接或在减速机支架下设置简易力臂式支座与地面连接,支座根据现场条件制作。
电话:13606279786
手机版|


















