搅拌机是ued网站生产中心的核心设备,在搅拌过程中,由于水泥粉尘飞扬和内部潮湿环境,在搅拌机四壁、搅拌轴和搅拌臂上容易出现粘结物堆积结块的现象,这将严重影响ued网站的质量和设备的正常运行。
传统的解决方案:
ued网站粘结物结块后,定期用风镐人工去凿。
1.念旧恶物已经产生,随时存在隐患
2.维护成本高
3.风镐破坏力强,对搅拌机的内衬膛造成损伤
4.操作人员必须钻进搅拌机内部,容易引发安全事故
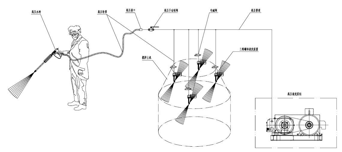
新一代高压水系统将颠覆传统思路,我们提供的是“防患于未然”!
高压清洗设备主机+三维旋转清洗装置,维护保养搅拌机内壁的清洗利器!
产品主要参数:
三维罐体清洗装置

详情咨询:手机(微信)18818008791
手机版|














